模态框(Modal)标题

在这里添加一些文本

模态框(Modal)标题

 
  • Home
  • About Journal
  • Editorial Board
  • Guide for Authors
  • Browse
    • Current Issue
    • Just Accepted
    • Archive
    • Highlights
    • Topic
    • Most Viewed
    • Most Download
    • Most Cited
  • Download
  • Editorial Policy
    • Publication Ethics Statement
    • Peer Review Policy
  • Contact Us
  • 中文

Figure/Table detail

Research on reliability evaluation standards for system-in-package on physics-of-failure
LIU Yingying, WANG Zhihui, LIU Wenbao, FU Wanyue, LIU Pei
Integrated Circuits and Embedded Systems, 2025, 25(11): 54-61.   DOI: 10.20193/j.ices2097-4191.2025.0055

Fig. 9 Failure prediction summary table
Other figure/table from this article
  • Fig. 1 Reliability prediction workflow based on CALCE SARA
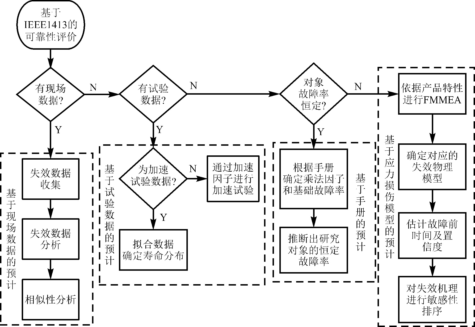
  • Fig. 2 Reliability prediction workflow compliant with IEEE 1413 standard
  • Fig. 3 PoF-based comprehensive scheme for SiP reliability evaluation
  • Fig. 4 A specific SiP product architecture
  • Fig. 5 Load response characterization of a specific SiP device
  • Fig. 6 Mechanism model initialization
  • Fig. 7 Experimental dataset generation
  • Fig. 8 Lifetime prediction visualization
  • Fig. 10 Reliability assessment outcomes
  • Table 1 Normalized characteristic parameters of sip module(range transformation)

京ICP备14021798号-2
Copyright © Integrated Circuits and Embedded Systems
Address: Room 8F, Weishi Building, No.39, XueYuan Road, Haidian District, Beijing, P.R.China   P.C. : 100191
Tel: 010-82317978 
E-mail: jices@buaa.edu.cn
Total visitors:   Visitors of today:   Now online:
Supported by: Beijing Magtech Co. Ltd